post_info@pmz.asia
+7 (7152) 54-01-34

Задвижки клиновые (ЗК) в Петропавловске






Задвижка клиновая 1,6 МПа





Выберите другую продукцию из этой категории:
1,6 МПа 2,5МПа 4,0МПа 16 МПа

Назначение задвижек клиновых - устанавливаются в качестве запорных устройств на трубопроводах. Рабочая среда - нефть, нефтепродукты, природный газ, а так же в системах по­жаротушения и на трубопроводах подачи воды или пара в системах тепловых сетей, котельных и ТЭЦ.

Производятся по СТ 1896-е-1948-01-ТОО-20-02-2018

Установочное положение - любое, кроме электроприводом вниз.

Климатическое исполнение - У1, XЛ1, УХЛ1 по ГОСТ 15150-69. Задвижки клиновые предназначены для эксплуа­тации на открытом воздухе в следующих макроклиматических районах с категори­ей размещения 1 по ГОСТ 15150: с умеренным климатом - исполнение У(N); с холодным климатом - исполнение XЛ(F); с умеренным и холодным климатом - исполнение УХЛ(NF).

Климатическое исполнение

Температура воздуха, °С

верхнее значение

нижнее значение

У(N)

плюс 45

минус 40

ХЛ(F)/УХЛ(NF)

плюс 40

минус 60


Класс герметичности: А по ГОСТ 9544-2015

Присоединение к трубопроводу: фланцевое; с патрубками под приварку.

Присоединительные размеры фланцев по ГОСТ 33259-2015

Строительная длина по ГОСТ 3706-93

Температура рабочей среды: от -40°С до +120°С

Задвижки изготавливаются с ручным управлением (маховик/редуктор) и под электропривод.

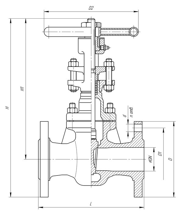
Основные размеры

Условное обозначение

DN,

мм

L,

мм

D,

мм

D1,

мм

D2,

мм

d,

мм

n,

шт

H,

мм

H1,

мм

Масса,

кг

ЗК 50х1,6

50

178

160

125

200

18

4

375

295

14,4

ЗК 80х1,6

80

203

195

160

240

18

4

505

405

29,0

ЗК 100х1,6

100

229

215

180

240

18

8

560

450

41,0

ЗК 150х1,6

150

267

280

240

240

22

8

715

575

65,0

ЗК 200х1,6

200

292

335

295

240

22

12

895

725

110,0

ЗК 300х1,6

300

500

460

410

450

26

12

1465

1215

400,0