Задвижки клиновые (ЗК) в Петропавловске
Задвижка клиновая 16 МПа
Назначение задвижек клиновых. Устанавливаются в качестве запорных устройств на трубопроводах. Рабочая среда - нефть, нефтепродукты, природный газ, а так же в системах пожаротушения и на трубопроводах подачи воды или пара в системах тепловых сетей, котельных и ТЭЦ.
Производятся по СТ 1896-е-1948-01-ТОО-20-02-2018
Установочное положение - любое, кроме электроприводом вниз.
Климатическое исполнение - У1, XЛ1, УХЛ1 по ГОСТ 15150-69. Задвижки клиновые предназначены для эксплуатации на открытом воздухе в следующих макроклиматических районах с категорией размещения 1 по ГОСТ 15150: с умеренным климатом - исполнение У(N); с холодным климатом - исполнение XЛ(F); с умеренным и холодным климатом - исполнение УХЛ(NF).
|
Климатическое исполнение |
Температура воздуха, °С |
|
|
верхнее значение |
нижнее значение |
|
|
У(N) |
плюс 45 |
минус 40 |
|
ХЛ(F)/УХЛ(NF) |
плюс 40 |
минус 60 |
Класс герметичности: А по ГОСТ 9544-2015
Присоединение к трубопроводу: фланцевое; с патрубками под приварку.
Присоединительные размеры фланцев по ГОСТ 33259-2015
Строительная длина по ГОСТ 3706-93
Температура рабочей среды: от -40°С до +120°С
Задвижки изготавливаются с ручным управлением (маховик/редуктор) и под электропривод.
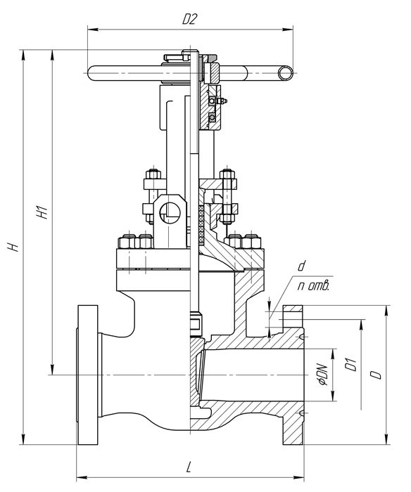
Основные размеры
|
Условное обозначение |
DN, мм |
L, мм |
D, мм |
D1, мм |
D2, мм |
d, мм |
n, шт |
H, мм |
H1, мм |
Масса, кг |
|
ЗК 100х16,0 |
100 |
432 |
265 |
210 |
390 |
30 |
8 |
750 |
620 |
144 |
|
ЗК 150х16,0 |
150 |
559 |
350 |
290 |
510 |
33 |
12 |
880 |
710 |
275 |

